Меню
Корзина

Стяжная лента

Стяжная лента
Стяжная лента
Стяжная лента
Стяжная лента
-25 %
Стяжная лента
Стяжная лента
Стяжная лента
Стяжная лента
Стяжная лента
  • Наличие: На складе
  • Артикул: Стяжная лента
просмотров 8373
Дней
Часов
Минут
Секунд
9.00р.
12.00р.
Без НДС: 9.00р.
Стяжные ленты используются для крепления поликарбоната.  Комплект стяжных лент выполнен из оцинкованных материалов, поэтому от не боится агрессивных условий окружающей среды.
 
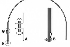
Стяжные ленты крепятся к каждой арке и к каждому торцу. Необходимое количество стяжных лент рассчитывается от количества арок плюс два торца.
Стяжные ленты позволяют крепить покрытие не проделывая в нем никаких отверстий, а значит увеличить срок эксплуатации поликарбонатных листов.

Ещё одним плюсом использования стяжной ленты является простота демонтажа поликарбоната, если его рекомендуют снимать с каркаса теплицы на зиму.

преимущества:

  • оцинкованная сталь
     
  • ширина 2,5см
     
  • толщина металла 0,7мм


Характеристики
Изготовитель ООО "КомфортПром", Адрес производства: 223411, Республика Беларусь, Минская область, Узденский р-н, д. Теляково, ул. Партизанская, 1Д
Ширина 2,5 см
Страна производства Республика Беларусь
Материал Оцинкованная сталь
Толщина стали 0,7 мм

Написать отзыв

Примечание: HTML разметка не поддерживается! Используйте обычный текст.
Плохо Хорошо

 

Мы используем файлы cookie и другие подобные технологии, чтобы улучшить опыт использования и скорость нашего сайта.